Skip to main content

The Regal mystery

There's a gazillion tyers who love the Regal style, angled spring clamp fly-tying vises, but I always wondered why they are so popular

14 comments

Mystifying reaction

I got an unexpected and even more mystifying reaction from Regal on this blog post about their vises.

I hadn't expected that they sent flowers or a bottle of wine, but maybe a constructive or explanatory email to start a dialog. They could after all have an interest in taking part in the discussion...
Well, that wasn't the case.

In stead they asked me to remove the images of their vises!
In all fairness I have to admit that I didn't ask their permission before I used the images, but most manufacturers allow you to use their product images or have images available for the press. It is marketing after all - even though I don't express the most positive thoughts about their vises, I do give the coverage and add to their market position and branding.
Regal obviously didn't think so.
On the 13th they wrote:

Dear Mr. Joergensen
1. I am the owner of the Website http://www.regalvise.com I am also the owner of the copyright in the material published on the Website.

The following is a list of the URL's for my pages or images which have been copied on your site(s).
1) http://globalflyfisher.com/blog/the-regal-mystery
2) http://globalflyfisher.com/

The above have been copied at the following URL's:
1) http://www.regalvise.com/
2) http://www.regalvise.com/revolution.html
3) https://www.facebook.com/Regal-Vise-Regal-Fly-Tying-Vise-152401931488925/

2. This wholesale misappropriation of my copyright works has not been authorized by me and is an infringement of my exclusive rights as copyright owner. The infringement is also flagrant.
3. In the circumstances I demand that you immediately:
3.1. remove all aforesaid infringing material from your Website(s), and notify me in writing that you have done so;
3.2 undertake in writing to desist from using any of my copyrighted work in future without prior written authority from me.

I await to hear from you by no later than close of business on 8/14/16 failing which equivalent letters will be sent to:
* Your Web Host LINODE - abuse@linode.com
* Your Domain Registrar ASCIO - abuse@ascio.com
* Legal Support at Google, Bing/Yahoo other Search Engines.
This is written without prejudice to my rights, all of which are hereby fully and expressly reserved.

Sincerely,
Donald Barnes - Owner REGAL VISE
Michael McAuliffe - Webmaster REGAL VISE

Of course I immediately removed their images.

So now my Regal post has no images of Regal vises other than the ones I have drawn myself. Since I don't own a Regal, I can't take my own photos of one.

I'm sorry to say that this didn't exactly give Regal further points in my book, but then again, I'm obviously on another planet when it comes to Regal vises.

I know I'm sticking out my neck here and risk calling down the anger and rage of a whole lot of Regal fans out there, but I have always wondered about the popularity of Regal-style vises.
Why do people love these brute force clamps with their upwards angled jaws? They must have some qualities that I simply haven't discovered. It might be me who's living a life in oblivion...

A brand name

Regal is a very well known brand with a long history, a strong market position and a high recognition factor, and I keep on seeing Regal vises used in videos, in books, at shows, in shops and other places. It's most likely one of the best selling vises. And the most copied too, a praise in itself albeit a kind of sad one.
A lot of people obviously love Regal vises!
I have a hard time understanding why.

A lot of people obviously love Regal vises!

I like simple

I know that a lot of Regal proselytes will say that the Regal is a fantastic vise with extremely good hook holding power and a brilliant, simple and flexible construction. I personally see a rather crudely constructed fixed clamp. Clumsy looking, actually.

How it's made

During the last few days, Regal has been running a countdown on Facebook, preparing for the premiere of a How it's Made section on the Science Channel. I can't see this channel here and the online version is blocked outside the US, but luckily the clip has been posted on YouTube. For the US citizens reading this, it should be on Science Channel.


How it's made: Assembling a Regal vise

I do like the simple construction. No frills and very few parts. I also like the new colored line, but neither simplicity nor color does it for me, I'm afraid.

One tension fits all

Sure it's compelling with a simple spring loaded clamping mechanism. No adjustment, takes all hook sizes, quick and easy hook mounting and removal, firm grip. I also know that there's more than meets the eye, and that the jaw construction is a little more intricate than just a clamp. There's trickery in them jaws, as can be read in the original patent application.
But one tension fits all just isn't my idea of a great grip.
A delicate and small hook needs way less grip than a large one, and some large hooks also need a delicate grip in order not to be scratched. Really large and robust hooks on the other hand - like for pike flies and large saltwater flies - need a lot of grip to sit because of the lever effect created by the long shank. And what if I mount a tube fly needle? That needs to be locked very firmly, and isn't delicate at all. I definitely prefer a screw adjustable closing mechanism, which I can set as I please. I'm sure many Regal users find that screws are just a menace.

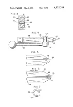
Patents

There's a whole bunch of patents covering vise constructions like Regal's. Most seem to be submitted by Gerald J. Doiron who my research does connect with Regal, even though I can't fully establish whether he was a founder.
US 4322065 A, Fly Tyer's Vise, filed 1980 by Gerald J. Doiron
US 4375284 A, Fly tiers' vise, filed 1983 by Gerald J. Doiron

One patent describes the advantage of the construction:

There have been many fly tier's vises suggested, manufactured and used, but as far as applicant is aware they all have one or more deficiencies, particularly in the area of the acceptance of different sizes of hooks, and ease and convenience of adjustment, both for this purpose and also in the area of clamping ability and bodily vise adjustment.
It is the principal object of the present invention to provide a new and improved fly tier's vise which is more versatile in these respects, being adapted to hold hooks of widely varying sizes without any adjustments and to place the clamped hook in the most convenient position for making the fly.

It's well thought through, for sure. Still, I'm not convinced.

Rotating
Slanted
Rotation in a Regal
Martin Joergensen

Rotation

Some of the fans also say a Regal is not fixed at all: it rotates. I have seen tyers tying on Regals who rotate their flies. Rotation in a Regal is along the axis of the jaws as in most rotating vises, but since the jaws are slanted, the rotation will not be along the axis of the hook - unless of course you mount the hook on the same axis, pointing upwards, in which case you will tie on an angled hook.
But, says the Regalites, the jaw assembly can be tipped (220 degrees up and down as Regal puts it in their specs. I would probably say 110 degrees up and down, but my circles may be different). You can adjust it to become horizontal, and then it's truly rotating along the hook shank's axis.
The Regal Revolution series even has a handle in the back of the vise to ease the rotation, and Regal calls it “The Ultimate in Control for Rotary Tying”. To be fair I have to say that I haven't tried the Revolution, but “ultimate control” isn't exactly in line with my observations when I have seen people tie on a Regal or tried one myself.
Sure it rotates, but laying the whole jaw assembly down means that you now have the whole construction right behind the hook, and it will be in the way of your hands, materials and whatever takes place behind the hook. If you mount the hook as most of us do, with the shank above the jaws, it's not rotating in-axis with the hook shank. The shank on larger hooks will wobble up and down as you rotate them as it does on most rotating vises.
I have said it before and will say it again: in my opinion a rotary vise needs to be able to rotate the hook along its axis, and the construction needs to be made so that it keeps clear space behind the hook for materials, tools, your hands and all that happens in that region of the fly.

Renzetti Traveler
Renzetti Traveler - I'd be happy to tie on it
Renzetti

Many other options

Petitjean
The Petitjean is complex
Petitjean Fishing Equipment

There is a ton of vises that offer this, from sensible mid-range vises to the top of the line tools from leading manufacturers. Look at Renzetti's vises, the Griffin Moongoose, the Peak Vise, the Snowbee Waldron and many others. There's plenty of good full rotary vises out there.
But there's also a whole lot, which I would never buy, use or even recommend, like the Regals, HMH, Dynaking Kingfisher, Griffin Pro/Superior, Thomson's Model A/Pro/SLT and many more, all using the slanted jaw construction.
I'd also shun away from the overly complex vises, which add a ton of hinges and screws to obtain the “perfect” hook shank alignment. It might become perfect, but it adds way too many parts and mechanics for my taste. Vises like the C&F Design Ultimate Reference Vice with its parallelogram construction, the Petitjean Swiss-Vise, which has a jaw arm with several adjustment points and screws or the popular Danica/Orvis vise with a construction that allows the jaw to slide up and down. I find all these and many more vises way over-engineered, and they gain very few advantages regarding hook position over a simple and well thought through construction.

C&F Design parallelogram
C&F Design rotation
C&F Design rotation requires a lot of parts
C&F Design

Die hard fans

I know they all have die hard fans - the complex rotating vises as well as the Regal's (and even the knockoffs), but I still find it hard to understand why.
Don't get me wrong. I respect people's choice and I see a ton of extremely good flies coming out of Regal vises, but I'd probably have a hard time living with one myself. I admit that I haven't given the Regals much of my tying time, so I might learn to appreciate them if I tried. But I doubt it.
I like my Waldron. OK, I know this isn't a vise for everybody simply because they are almost impossible to find and pay. But I'd have no issues tying on the Renzetti Traveler or other vises, which are really simple in construction and do a very fine job of keeping the hook firmly and steadily in line for a very close to perfect rotation. The home made vise that Tom Biesot recently presented here also has a simple and very neat way of keeping the hook shank in the rotation line.
Personally I have the privilege of being able to stick to my LAW. I love that vise, so that's what I prefer to use.
In the meantime I have probably called down a vise jihad on myself for writing the above, but luckily that's also my privilege: having an opinion - and a place to publish it.

I have probably called down a vise jihad on myself

My vise history

Knock-offs
Fly Mate vise
Knock-offs and the Fly Mate
Martin Joergensen

My first vise was a really miserable Indian vise. And no, it wasn't even a Regal knockoff, but a terribly crudely made and badly constructed copy of a Thompson Pro – which is pretty far from pro if you ask me. My copy was a vise of the worst kind. It had one thing in common with the Regal: an angled jaw assembly and no proper rotation.
I tied on it for a very short time, and soon bought a Danish Dan-Vise, which was a nice construction, well made and with jaw rotation on the hook axis, an ability that I personally think is an absolute must in any fly-tying vise. I soon exchanged that for a LAW vise made by British Lawrence Waldron, and don't see any reason to move on from that.

Image gallery for The Regal mystery

Submitted by caseyp on

Permalink

i tried to use a regal vice once. it took me both hands to open the jaws, leaving me no way to mount the hook. back to renzetti for this t

Submitted by Zach Lupold on

Permalink

I think that the regal became popular back when there were few other options for a high quality vise. Other people bought them after being recommend by friends. I have owned a Dyna King Barracuda for 5 years now and I'm in love.Much better than my old Renzetti.

Submitted by Johann Jansen … on

Permalink

Maybe you should look at the South African J Vice too!

Submitted by Harold Braselmann on

Permalink

If you have Art Flick's "Streamside Guide..." you'll see that the Regal is a copy of his original design. I was quite upset when Regal claimed the design as their own.

Submitted by James on

Permalink

I have coverage of most of the Regal range if you want me to take some pictures and email them through. Its a shame you were made to bring down the images...

James,

Thanks for your kind offer! It would make good sense to have images, but I'm honestly kind of tempted to leave the post as it is and let no Regal be shown. If they don't want images, they don't get images...

Martin

Submitted by Joel D Stansbury on

Permalink

Like you, I started with a cheap fly tying kit in 1967, about $10.00 for materials & Vise, then a Thompson A vise, then a marvelous vise called the Price Vise which I still have with the extension arm & Light, and my present vise, a Renzetti 4000, which is my daily go to. Every once in a while, for nostalga, i will use the Price Vise.Tried a friends Regal once & hated it, bulky, clumsy, no Hutzpah!

I bought my Regal Vise back in '89, that was before they put the round decal on top of the vise body. I chose Regal as I needed a solid, strong vise. Previously I used a screw type and a lever type, both wore out the tightening mechanism (I tied a whole lotta flies).
I turned pro in '90 and taught 30 tyers to tie flies (mostly Trout, then Bass flies for a well known outfit in Vermont). I still use the Regal and find the hook hold as good as ever from #22's to #3/0 Blind Eye Spey and Dee hooks. Mine is a clamp model and the only thing I find now is that clamp screw needs tightening on the underside of benchtop now and again.So maybe the Regal bench clamp could be better designed to enable a firmer grip on the bench top.

Submitted by Phil Ewanicki on

Permalink

A fly vise must hold hooks without allowing them to slip or move, but not to exert so much pressure as to fracture or weaken the steel in the hook shank. A tiny rectangle cut from a piece of heavy paper - like a 3"X5" card - folded over the bend in the hook shank before inserting it into the jaws of the vise - will hold the hook ROCK SOLID with very little pressure from the vise jaws. This minimizes the chances of fracturing the hook steel with a high pressure, steel-on-steel, cam operated clamp. My old vise, a knock-off version of a Thompson A, will hold hooks from #22 to 2/0 as solidly as any $500 vise - and the hooks don't break in use. Art Flick recommended this move.

Submitted by Paul on

Permalink

I noticed that subsequent to this post you seem to be using the Regal Revolution for your production tying (in a video of your fly tying room). Did you change your opinion on the vise?

Paul,

The videos posted on this site feature hundreds of different tyers, and some use a Regal. I still don't fancy the Regals much, and use my trusted LAW vise for all my tying - including when I film videos to be featured here.

So no, I didn't change my mind.

Martin

Submitted by Dirk de Villiers on

Permalink

I have agree with you on the Regal vise. I tied on one for a few years until the jaw chipped. This is almost inevitable if you tie smaller flies - more a matter of when than if in my opinion. Contacted Regal and wanted to charge me for a new set of jaws which I thought was unacceptable for a vise with an obvious design flaw that supposedly has a lifetime guarantee. I switched to a Renzetti Presentation 2000 and haven't looked back.

Eric,

You are absolutely right, but why would I use a tool I don't like? I simply don't like tying on a Regal. I haven't said it's a bad vise or that it has flaws. I personally just don't like tying on one.

Thousands and thousands of people tie perfect flies on Regals and love it, and good for them! But that doesn't mean that I have to like the Regal vise.

I'm sure no one would be able to see the difference between two flies that I tied on my LAW and on a Regal (or on a Thompson A), but I'd have a much better time and experience using my LAW - and be way more efficient too.

Martin

Since you got this far …


The GFF money box

… I have a small favor to ask.

Long story short

Support the Global FlyFisher through several different channels, including PayPal.

Long story longer

The Global FlyFisher has been online since the mid-90's and has been free to access for everybody since day one – and will stay free for as long as I run it.
But that doesn't mean that it's free to run.
It costs money to drive a large site like this.
See more details about what you can do to help in this blog post.